 |
Matronics Email Lists Web Forum Interface to the Matronics Email Lists
|
| View previous topic :: View next topic |
| Author |
Message |
nuckolls.bob(at)aeroelect Guest
|
Posted: Wed Jan 18, 2017 6:22 am Post subject: DPST switch in place of split rocker master |
|
|
At 06:22 PM 1/17/2017, you wrote:
| Quote: | --> AeroElectric-List message posted by: "digidocs" <junk(at)dcarr.org>
Hi list,
I'm curious if there would be any negative consequences to using a standard SPDT toggle switch in lieu of the red split rocker or a progressive transfer toggleswitch. I already have a pullable breaker that can be used to shut down the (externally regulated) alternator in the rare case when that's desirable and I like the simplicity of just "on" and "off". |
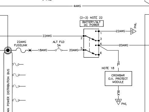
That's exactly what is suggested in Figure Z-13/8
[img]cid:.0[/img]
| Quote: | | The only potential snag that has occurred to me thus far is that there could be a "load dump" event on switch off. This could happen because even though the field is disconnected at the same time as the battery, there is still stored energy in the alternator inductance that may take a few 100s of ms to dissipate. This energy would have to go to the bus as the battery would no longer be present to absorb it. |
Load dumps come in two forms. (1) The 'automotive' load
dump even occurs when a lightly loaded system is
robustly recharging a depleted battery and some
electrical gremlin of undefined origins disconnects
the battery. The response time for a hard-working
alternator is not zero . . . in the milliseconds
following a battery disconnect, the bus voltage
will 'surge' to some higher valve for the interval
required to bring the alternatorunder control.
(2) The 'aviation' load dump is generated when
some large drain on the system is suddenly released
in an otherwise perfectly normal system. My first
explorations of such events involved system behaviors
when large motors (air conditioning compressor, landing
gear and electro-hydraulic pumps) were shut off.
These loads placed demands of 100A or more on
the system. Of course, the flip side of that coin
studied system voltage depressions generated by
the startup inrush currents for those same devices.
Bus voltage perturbations generated in (2) have
been studied in great detail and bounded by
design goals defined in publications like
Mil-Std-704 for power generation and DO-160
for appliance tolerance to such events.
But in neither venue will you generate untenable
bus voltage excursions with the simultaneous
operations of alternator field supply and
battery contactor.
Bob . . .
| | - The Matronics AeroElectric-List Email Forum - | | | Use the List Feature Navigator to browse the many List utilities available such as the Email Subscriptions page, Archive Search & Download, 7-Day Browse, Chat, FAQ, Photoshare, and much more:
http://www.matronics.com/Navigator?AeroElectric-List |
|
| Description: |
|
| Filesize: |
44.23 KB |
| Viewed: |
3027 Time(s) |

|
|
|
| Back to top |
|
 |
digidocs
Joined: 04 Dec 2013 Posts: 60
|
Posted: Wed Jan 18, 2017 8:30 am Post subject: Re: DPST switch in place of split rocker master |
|
|
Bob,
Thank you for your response. It's exactly the confirmation I was looking for.
Have a nice day,
David
| | - The Matronics AeroElectric-List Email Forum - | | | Use the List Feature Navigator to browse the many List utilities available such as the Email Subscriptions page, Archive Search & Download, 7-Day Browse, Chat, FAQ, Photoshare, and much more:
http://www.matronics.com/Navigator?AeroElectric-List |
|
|
|
| Back to top |
|
 |
|
|
You cannot post new topics in this forum You cannot reply to topics in this forum You cannot edit your posts in this forum You cannot delete your posts in this forum You cannot vote in polls in this forum You cannot attach files in this forum You can download files in this forum
|
Powered by phpBB © 2001, 2005 phpBB Group
|