 |
Matronics Email Lists Web Forum Interface to the Matronics Email Lists
|
| View previous topic :: View next topic |
| Author |
Message |
nuckolls.bob(at)aeroelect Guest
|
Posted: Tue Oct 23, 2018 1:34 pm Post subject: Same rating for fuses and circuit breakers? |
|
|
At 09:54 AM 10/23/2018, you wrote:
| Quote: | Hi,
I'm curious if we should use the exact same rating for fuses as are recommended for circuit breakers. |
generally, yes
| Quote: | | I have all fuses with one CB as recommended by the AEC, and for most devices they say something "protect with a 1 amp circuit breaker". My understanding is that fuses are "faster", so more likely to blow in a case where a CB might not have time to react - could be I have this wrong. Is there a recommendation to use the exact same value of fuse as recommended for circuit breakers, or should we increase the fuse size? |
I am suspicious of installation instructions
that call for 'downsized' protection with
respect to wire size.
This has the 'look and smell' of a design
gaff . . . albeit a minor one. I was taught
to make system integration and installation
completely independent of contemporary design
rules. In this example, suppose your electro-whizzy
needs 3.2A maximum at any time. You state that in
the specs . . . and stop there.
The system integrator would be expected to gravitate
to a 22AWG feeder on a 5A breaker . . . and in this
case, a 5A fuse (de-rated to 75% per recommended
practice) would be a good choice too. But if the
box goes all the way in the tail of a Hawker 4000,
the feeder might be upsized to 20AWG just to mitigate
voltage drop issues . . . and the system integrator
might well protect that wire with a 7A breaker.
Bottom line is, it shouldn't matter.
The 1A breaker requirement sounds like there may
be some design feature INSIDE the electro-whizzy
at risk for smoke due to some internal failure;
a risk mitigated by adjusting installation
requirements.
Is there risk associated with replacing a breaker
with a fuse? Maybe . . . breakers are a low slower
than fuses and the electro-whizzy may have some
transient draw that would irritate a fuse. If
you get nuisance trips, no big deal. Put the
next bigger fuse in.
But it WOULD be interesting to talk with
the engineer that built that feature into his/her
design . . . I mean, there ARE worse things you
could do . . . like let your electro-whizzy reset
during starter inrush events.
Bob . . .
| | - The Matronics AeroElectric-List Email Forum - | | | Use the List Feature Navigator to browse the many List utilities available such as the Email Subscriptions page, Archive Search & Download, 7-Day Browse, Chat, FAQ, Photoshare, and much more:
http://www.matronics.com/Navigator?AeroElectric-List |
|
|
|
| Back to top |
|
 |
nuckolls.bob(at)aeroelect Guest
|
Posted: Tue Oct 23, 2018 4:43 pm Post subject: Same rating for fuses and circuit breakers? |
|
|
At 04:10 PM 10/23/2018, you wrote:
| Quote: | --> AeroElectric-List message posted by: "user9253" <fransew(at)gmail.com>
One reason is to keep the number of spare fuses to a minimum. |
Why would you carry spare fuses in the airplane?
Bob . . .
| | - The Matronics AeroElectric-List Email Forum - | | | Use the List Feature Navigator to browse the many List utilities available such as the Email Subscriptions page, Archive Search & Download, 7-Day Browse, Chat, FAQ, Photoshare, and much more:
http://www.matronics.com/Navigator?AeroElectric-List |
|
|
|
| Back to top |
|
 |
nuckolls.bob(at)aeroelect Guest
|
Posted: Fri Oct 26, 2018 6:09 am Post subject: Same rating for fuses and circuit breakers? |
|
|
| Quote: |
As for the CB protecting the wires and not the device... Well, I have heard that and read that for years.
It does not protect the device ONLY because it does not function quick enough to prevent damage.
But, as for protecting the wires... I feel that statement is a BUNK! Â
If it was only to protect the wires WHY doesn't ALL wires of the same size have the same size CB?
That statement sure sounds like C.Y.A..
The product manufacture did not want to go the extra distance - spelt - MONEY. To add protection to the product! |
check out the narrative on wire and protection
sizing in AC4-13
Circuit protection and wire size can be fine
tuned but based mostly on the wire's insulation
temperature limits, voltage drop, and environment
through which the wire travels.
20 amps through a 22AWG wire in free air will not
raise the temperature above the limits for Tefzel
wire . . . yet we never see 22AWG operated and/or
protected at such extreme.
5A is the legacy rule of thumb limit for 22AWG wire
dating back to Mil-w-76 cotton over rubber insulated
wire. It's a good rule of thumb that frees the
system integrator from what could be a nightmare
should his boss task him with 'optimizing' every
strand of wire in every wire bundle.
The cost/benefit ratio of such a philosophy is
exceedingly poor. Having said that, there is
noting in the rule of thumb that prohibits
departure for calculated reasons . . . like those
manufacturers whose products feature some
electrical fragility that cries out for
external relief.
It would be interesting to see a system diagram
on a TC aircraft that departs from the 22/5,
20/7, 18/10, 14/15 protocol for 10 degree
temperature rise in free air.
If one wished to adopt some other policy for
temperature rise . . . say 21 degrees C,
they're certainly free to do so . . . and
the risks are low but so are the benefits.
Bob . . .
| | - The Matronics AeroElectric-List Email Forum - | | | Use the List Feature Navigator to browse the many List utilities available such as the Email Subscriptions page, Archive Search & Download, 7-Day Browse, Chat, FAQ, Photoshare, and much more:
http://www.matronics.com/Navigator?AeroElectric-List |
|
|
|
| Back to top |
|
 |
nuckolls.bob(at)aeroelect Guest
|
Posted: Fri Oct 26, 2018 6:39 am Post subject: Same rating for fuses and circuit breakers? |
|
|
At 08:05 PM 10/25/2018, you wrote:
| Quote: | Thanks Don,
Ya know guys, the circuit is so simple it can be added to a CB. probably easier than a fuse.
Good for the CB that is out of the standard field of view.
Barry |
But what is the cost/benefit ratio? 99.99% of all
breakers/fuses installed in all vehicles at the
factory go to the junkyard never having been
tasked to do their job.
For every fault that takes a system down by
opening the power feeder protection, there
are MANY more faults equally deleterious
to system operation that do not open the
feeder protection.
When circuit protection does operate in
a thoughtfully designed system, the thing
is broke. Resetting the breaker or replacing
the fuse will not bring it back.
The pilot's first clue that something is
amiss is when an expected event doesn't
occur on the airplane . . . but what value
is there in knowing the state of power
feeder protection? The reason for malfunction
is not relevant to the pilot's prime
directive: effect a return to earth
without bending airplanes or people.
Indicating fuses are cute but the feature
saves only seconds of diagnostic time which
is done on the ground.
Bob . . .
| | - The Matronics AeroElectric-List Email Forum - | | | Use the List Feature Navigator to browse the many List utilities available such as the Email Subscriptions page, Archive Search & Download, 7-Day Browse, Chat, FAQ, Photoshare, and much more:
http://www.matronics.com/Navigator?AeroElectric-List |
|
|
|
| Back to top |
|
 |
nuckolls.bob(at)aeroelect Guest
|
Posted: Fri Oct 26, 2018 6:42 am Post subject: Same rating for fuses and circuit breakers? |
|
|
At 07:29 PM 10/25/2018, you wrote:
| Quote: | Right You Are Charlie:
Here is another thought?
In the AC world there is a thing know as a Ground Fault Interrupt (GFI) |
Yup, got 'em in airplanes too. After the Swiss Air 111
disaster there was a push to develop a breaker
with soft-fault detection built in. TI and others
rose to the occasion and you can buy such critters
today . . . if your wallet is fat enough.
Anybody work for Boeing or Airbus? Know anybody
who might fill us in on just how many such devices
have found their way onto there products? I'm
betting its VERY few if any.
Bob . . .
| | - The Matronics AeroElectric-List Email Forum - | | | Use the List Feature Navigator to browse the many List utilities available such as the Email Subscriptions page, Archive Search & Download, 7-Day Browse, Chat, FAQ, Photoshare, and much more:
http://www.matronics.com/Navigator?AeroElectric-List |
|
|
|
| Back to top |
|
 |
nuckolls.bob(at)aeroelect Guest
|
Posted: Fri Oct 26, 2018 2:26 pm Post subject: Same rating for fuses and circuit breakers? |
|
|
| Quote: |
I do recall years ago there were fuse holders for AC that would glow when the fuse blew. It was a simple circuit of a NE2 bulb and a series resistor. They were wired in series across the fuse. When the fuse blew the circuit would become active and the NE2 would glow.
Is this the same idea? |
Yup . . . they're still made
https://tinyurl.com/ych5z2u7
Just one of a family of devices called
'indicating' fuse holders.
Some of these critters have a little spring
loaded arm that pops up or a button that
pops out.
https://tinyurl.com/y8a9qkd5
These features have been used
to make contact with a 'detector strip'
of some type that will effect an alarm
when a blown fuse does its thing . . .
The idea isn't new . . . back in 1928 a
clever fellow got a patent on a system
for bridging an opaque cartridge fuse
with a transparent device. He correctly
reasoned that when the large fuse opens
in relative obscurity, the external device
would open as well and announce the
condition.
http://www.freepatentsonline.com/1868465.pdf
Wonder if he ever collected a royalty on
this . . .
Bob . . .
| | - The Matronics AeroElectric-List Email Forum - | | | Use the List Feature Navigator to browse the many List utilities available such as the Email Subscriptions page, Archive Search & Download, 7-Day Browse, Chat, FAQ, Photoshare, and much more:
http://www.matronics.com/Navigator?AeroElectric-List |
|
|
|
| Back to top |
|
 |
nuckolls.bob(at)aeroelect Guest
|
Posted: Sun Oct 28, 2018 10:22 am Post subject: Same rating for fuses and circuit breakers? |
|
|
At 11:27 AM 10/28/2018, you wrote:
| Quote: | Bob:
Of course GFI will not work on planes, not as yet! The present GFI for homes uses inductance in the AC circuit. Our planes are DC, inductance is not there, AC is not there! Â
The type of Ground does not matter. |
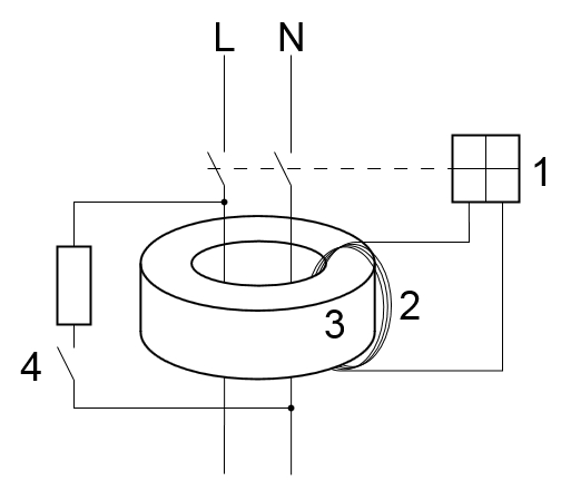
[img]cid:.0[/img]
The type of 'ground' does matter. The contemporary
GFCI watches for an imbalance of current flow
between the power (line) and return (neutral)
pathways of a power distribution system. Any
small imbalance between N and L manifest
as signal in winding #2 which is processed
and used to trip the switches and disconnect
power. In this case, 'ground' is some
stray pathway out in the environment.
In our airplanes, there is no "N" conductor,
that's the airframe and we call it 'ground'.
The GFI is a prophylactic against human
hazards and not intended to protect wiring
from catastrophic overload.
If fact, the GFI cannot detect the catastrophic
overload. A downstream fault between L and N
will still present as a 'balanced' condition
which will not trip the GFI. The upstream
circuit breaker's job is to stand off
results of a catastrophic overload.
Conflating the functionality of GFIs and CBs
is in error.
All,
There appears to be a lot of mythology surrounding GFCIs (Ground Fault Circuit Interrupters) or GFI for short.
Here's how they work:
1. GFI are anti-electrocution devices. Not over-current protection devices. (A very common mis-conception)
2. The GFI measures the current on both legs of the circuit, the hot and the neutral.
3. If it detects and imbalance between the two legs, it trips. It has nothing to do with the magnitude of the overall current. That's what the circuit breaker is for. I think the imbalance is as small as 5 mA (not sure but it is pretty small).
The theory is that if, for example, the hot leg is conducting 1000 mA but the current in the returning neutral is only 995mA, then 5mA of stray current is going somewhere bad, like thru your heart to ground.
Side Note (for electrical contractors):
Therefore a GFI cannot be use on a shared-neutral circuit - if you don't know what that is, don't worry about it. It is a fairly common practice in house wiring.
Take it from a 'company man' . . . RIGHT ON.
Bob . . .
| | - The Matronics AeroElectric-List Email Forum - | | | Use the List Feature Navigator to browse the many List utilities available such as the Email Subscriptions page, Archive Search & Download, 7-Day Browse, Chat, FAQ, Photoshare, and much more:
http://www.matronics.com/Navigator?AeroElectric-List |
|
| Description: |
|
| Filesize: |
33.14 KB |
| Viewed: |
5993 Time(s) |

|
|
|
| Back to top |
|
 |
|
|
You cannot post new topics in this forum You cannot reply to topics in this forum You cannot edit your posts in this forum You cannot delete your posts in this forum You cannot vote in polls in this forum You cannot attach files in this forum You can download files in this forum
|
Powered by phpBB © 2001, 2005 phpBB Group
|