 |
Matronics Email Lists Web Forum Interface to the Matronics Email Lists
|
| View previous topic :: View next topic |
| Author |
Message |
nuckolls.bob(at)aeroelect Guest
|
Posted: Thu Aug 13, 2020 5:28 am Post subject: Valid test for voltage regulator |
|
|
At 04:31 AM 8/13/2020, you wrote:
| Quote: | --> AeroElectric-List message posted by: "Devid47" <lynchris299(at)gmail.com>
A voltage regulator is a device that takes in an input voltage and regulates it down to the voltage that it is rated for.
Being that a voltage regulator passes out a regulated output voltage, the only test we must do to check a voltage regulator is a voltage test. |
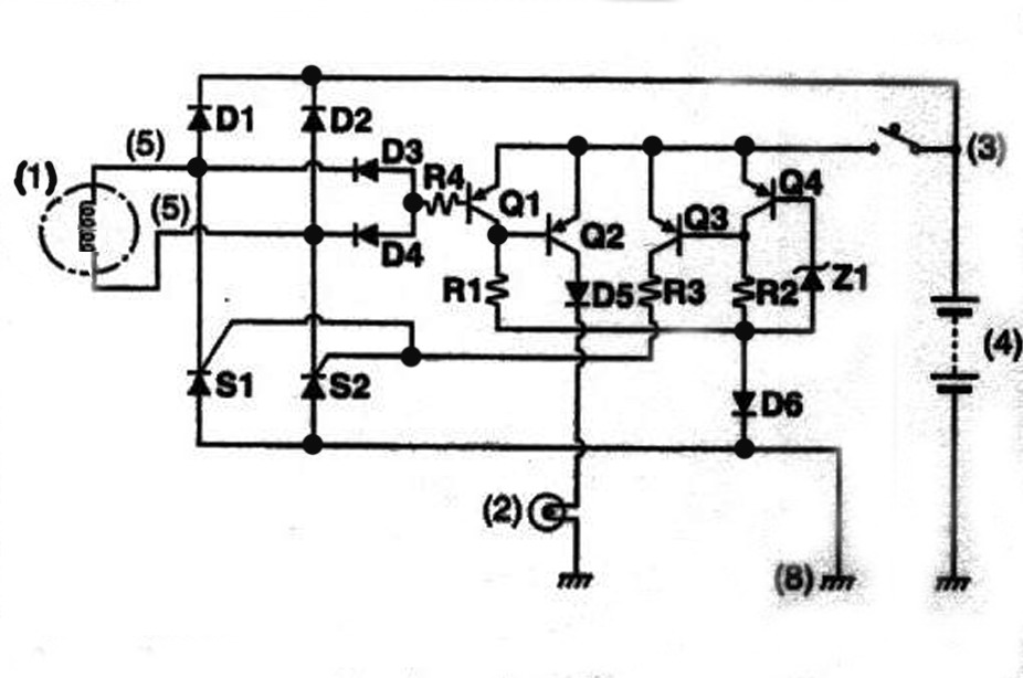
The 'voltage regulator' under discussion is
a rectifier/regulator assembly used in
conjunction with a permanent magnet
alternator. Exemplar schematic attached.
Bob . . .
| | - The Matronics AeroElectric-List Email Forum - | | | Use the List Feature Navigator to browse the many List utilities available such as the Email Subscriptions page, Archive Search & Download, 7-Day Browse, Chat, FAQ, Photoshare, and much more:
http://www.matronics.com/Navigator?AeroElectric-List |
|
| Description: |
|
| Filesize: |
76.52 KB |
| Viewed: |
5399 Time(s) |

|
|
|
| Back to top |
|
 |
cluros(at)gmail.com Guest
|
Posted: Thu Aug 13, 2020 5:44 am Post subject: Valid test for voltage regulator |
|
|
Bob you've been had by a spammer. Ignore.
On Thu, Aug 13, 2020, 07:36 Robert L. Nuckolls, III <nuckolls.bob(at)aeroelectric.com (nuckolls.bob(at)aeroelectric.com)> wrote:
| Quote: | At 04:31 AM 8/13/2020, you wrote:
| Quote: | --> AeroElectric-List message posted by: "Devid47" <lynchris299(at)gmail.com (lynchris299(at)gmail.com)>
A voltage regulator is a device that takes in an input voltage and regulates it down to the voltage that it is rated for.
Being that a voltage regulator passes out a regulated output voltage, the only test we must do to check a voltage regulator is a voltage test. |
The 'voltage regulator' under discussion is
a rectifier/regulator assembly used in
conjunction with a permanent magnet
alternator. Exemplar schematic attached.
Bob . . .
|
| | - The Matronics AeroElectric-List Email Forum - | | | Use the List Feature Navigator to browse the many List utilities available such as the Email Subscriptions page, Archive Search & Download, 7-Day Browse, Chat, FAQ, Photoshare, and much more:
http://www.matronics.com/Navigator?AeroElectric-List |
|
|
|
| Back to top |
|
 |
ceengland7(at)gmail.com Guest
|
Posted: Thu Aug 13, 2020 5:46 am Post subject: Valid test for voltage regulator |
|
|
Hi Bob,
I'm pretty sure that guy is a spammer. I started to respond, then checked my history & found only that one post from him, which has a link to who knows what.
Charlie
On Thu, Aug 13, 2020 at 8:36 AM Robert L. Nuckolls, III <nuckolls.bob(at)aeroelectric.com (nuckolls.bob(at)aeroelectric.com)> wrote:
| Quote: | At 04:31 AM 8/13/2020, you wrote:
| Quote: | --> AeroElectric-List message posted by: "Devid47" <lynchris299(at)gmail.com (lynchris299(at)gmail.com)>
A voltage regulator is a device that takes in an input voltage and regulates it down to the voltage that it is rated for.
Being that a voltage regulator passes out a regulated output voltage, the only test we must do to check a voltage regulator is a voltage test. |
The 'voltage regulator' under discussion is
a rectifier/regulator assembly used in
conjunction with a permanent magnet
alternator. Exemplar schematic attached.
Bob . . .
|
| | - The Matronics AeroElectric-List Email Forum - | | | Use the List Feature Navigator to browse the many List utilities available such as the Email Subscriptions page, Archive Search & Download, 7-Day Browse, Chat, FAQ, Photoshare, and much more:
http://www.matronics.com/Navigator?AeroElectric-List |
|
|
|
| Back to top |
|
 |
echristley(at)att.net Guest
|
Posted: Thu Aug 13, 2020 6:23 am Post subject: Valid test for voltage regulator |
|
|
The email is probably spam, but I still found the diagram useful.
I got the test rig set up last night and ran it with no more load than the meter on it. My lathe has a VFD, so I can read the RPM from a digital readout. What I got was:
457rpm -> 14.6V
623rpm -> 14.64V
897rpm -> 15.09V
991rpm -> 15.7V
I'll hook a battery or a couple lights to it later today to see if the regulator needs a significant current flowing to regulate properly, but it doesn't look to me like this regulator is regulating very well.
On Thursday, August 13, 2020, 9:47:13 AM EDT, Charlie England <ceengland7(at)gmail.com> wrote:
Hi Bob,
I'm pretty sure that guy is a spammer. I started to respond, then checked my history & found only that one post from him, which has a link to who knows what.
Charlie
On Thu, Aug 13, 2020 at 8:36 AM Robert L. Nuckolls, III <nuckolls.bob(at)aeroelectric.com (nuckolls.bob(at)aeroelectric.com)> wrote:
| Quote: | At 04:31 AM 8/13/2020, you wrote: | Quote: | | --> AeroElectric-List message posted by: "Devid47" <lynchris299(at)gmail.com (lynchris299(at)gmail.com)> A voltage regulator is a device that takes in an input voltage and regulates it down to the voltage that it is rated for. Being that a voltage regulator passes out a regulated output voltage, the only test we must do to check a voltage regulator is a voltage test. | The 'voltage regulator' under discussion is a rectifier/regulator assembly used in conjunction with a permanent magnet alternator. Exemplar schematic attached.
Bob . . .
|
| | - The Matronics AeroElectric-List Email Forum - | | | Use the List Feature Navigator to browse the many List utilities available such as the Email Subscriptions page, Archive Search & Download, 7-Day Browse, Chat, FAQ, Photoshare, and much more:
http://www.matronics.com/Navigator?AeroElectric-List |
|
|
|
| Back to top |
|
 |
user9253
Joined: 28 Mar 2008 Posts: 1967 Location: Riley TWP Michigan
|
Posted: Thu Aug 13, 2020 9:18 am Post subject: Re: Valid test for voltage regulator |
|
|
Yes, Devid47 is a spammer.
The link at the bottom of his post indicates that he is from Sri Lanka.
His post was plagiarized from this website:
http://www.learningaboutelectronics.com/Articles/How-to-test-a-voltage-regulator
You can go there to read the whole article about testing the LM7805 if interested.
Matt has deleted the spammer and his post.
| | - The Matronics AeroElectric-List Email Forum - | | | Use the List Feature Navigator to browse the many List utilities available such as the Email Subscriptions page, Archive Search & Download, 7-Day Browse, Chat, FAQ, Photoshare, and much more:
http://www.matronics.com/Navigator?AeroElectric-List |
|
_________________ Joe Gores
Last edited by user9253 on Thu Aug 13, 2020 10:16 am; edited 1 time in total |
|
| Back to top |
|
 |
nuckolls.bob(at)aeroelect Guest
|
Posted: Thu Aug 13, 2020 9:42 am Post subject: Valid test for voltage regulator |
|
|
At 09:20 AM 8/13/2020, you wrote:
| Quote: | The email is probably spam, but I still found the diagram useful.
I got the test rig set up last night and ran it with no more load than the meter on it. My lathe has a VFD, so I can read the RPM from a digital readout. What I got was:
457rpm -> 14.6V
623rpm -> 14.64V
897rpm -> 15.09V
991rpm -> 15.7V
I'll hook a battery or a couple lights to it later today to see if the regulator needs a significant current flowing to regulate properly, but it doesn't look to me like this regulator is regulating very well. |
Contemporary PM R/R needs a load to be optimally accurate/stable.
How do the rpms in your test data relate to engine rpms in
operation?
It will settle down with a load.
Bob . . .
| | - The Matronics AeroElectric-List Email Forum - | | | Use the List Feature Navigator to browse the many List utilities available such as the Email Subscriptions page, Archive Search & Download, 7-Day Browse, Chat, FAQ, Photoshare, and much more:
http://www.matronics.com/Navigator?AeroElectric-List |
|
|
|
| Back to top |
|
 |
echristley(at)att.net Guest
|
Posted: Thu Aug 13, 2020 10:48 am Post subject: Valid test for voltage regulator |
|
|
The engine idles around 650. Max RPM is 3,000.
On Thursday, August 13, 2020, 1:43:26 PM EDT, Robert L. Nuckolls, III <nuckolls.bob(at)aeroelectric.com> wrote:
At 09:20 AM 8/13/2020, you wrote:
| Quote: | The email is probably spam, but I still found the diagram useful.
I got the test rig set up last night and ran it with no more load than the meter on it. My lathe has a VFD, so I can read the RPM from a digital readout. What I got was:
457rpm -> 14.6V
623rpm -> 14.64V
897rpm -> 15.09V
991rpm -> 15.7V
I'll hook a battery or a couple lights to it later today to see if the regulator needs a significant current flowing to regulate properly, but it doesn't look to me like this regulator is regulating very well. |
Contemporary PM R/R needs a load to be optimally accurate/stable.
How do the rpms in your test data relate to engine rpms in
operation?
It will settle down with a load.
Bob . . .
| | - The Matronics AeroElectric-List Email Forum - | | | Use the List Feature Navigator to browse the many List utilities available such as the Email Subscriptions page, Archive Search & Download, 7-Day Browse, Chat, FAQ, Photoshare, and much more:
http://www.matronics.com/Navigator?AeroElectric-List |
|
|
|
| Back to top |
|
 |
ceengland7(at)gmail.com Guest
|
Posted: Thu Aug 13, 2020 11:05 am Post subject: Valid test for voltage regulator |
|
|
Is the alternator concentric on the crank (VW style), or belt driven? If belt, what's the *alternator* rpm range?
On Thu, Aug 13, 2020 at 1:55 PM Ernest Christley <echristley(at)att.net (echristley(at)att.net)> wrote:
| Quote: |
The engine idles around 650. Max RPM is 3,000.
On Thursday, August 13, 2020, 1:43:26 PM EDT, Robert L. Nuckolls, III <nuckolls.bob(at)aeroelectric.com (nuckolls.bob(at)aeroelectric.com)> wrote:
At 09:20 AM 8/13/2020, you wrote:
| Quote: | The email is probably spam, but I still found the diagram useful.
I got the test rig set up last night and ran it with no more load than the meter on it. My lathe has a VFD, so I can read the RPM from a digital readout. What I got was:
457rpm -> 14.6V
623rpm -> 14.64V
897rpm -> 15.09V
991rpm -> 15.7V
I'll hook a battery or a couple lights to it later today to see if the regulator needs a significant current flowing to regulate properly, but it doesn't look to me like this regulator is regulating very well. |
Contemporary PM R/R needs a load to be optimally accurate/stable.
How do the rpms in your test data relate to engine rpms in
operation?
It will settle down with a load.
Bob . . .
|
| | - The Matronics AeroElectric-List Email Forum - | | | Use the List Feature Navigator to browse the many List utilities available such as the Email Subscriptions page, Archive Search & Download, 7-Day Browse, Chat, FAQ, Photoshare, and much more:
http://www.matronics.com/Navigator?AeroElectric-List |
|
|
|
| Back to top |
|
 |
echristley(at)att.net Guest
|
Posted: Thu Aug 13, 2020 11:21 am Post subject: Valid test for voltage regulator |
|
|
It's concentric. Bolts up in place of the harmonic dampener on a Corvair.
On Thursday, August 13, 2020, 3:05:31 PM EDT, Charlie England <ceengland7(at)gmail.com> wrote:
Is the alternator concentric on the crank (VW style), or belt driven? If belt, what's the *alternator* rpm range?
On Thu, Aug 13, 2020 at 1:55 PM Ernest Christley <echristley(at)att.net (echristley(at)att.net)> wrote:
| Quote: |
The engine idles around 650. Max RPM is 3,000.
On Thursday, August 13, 2020, 1:43:26 PM EDT, Robert L. Nuckolls, III <nuckolls.bob(at)aeroelectric.com (nuckolls.bob(at)aeroelectric.com)> wrote:
At 09:20 AM 8/13/2020, you wrote: | Quote: | | The email is probably spam, but I still found the diagram useful. I got the test rig set up last night and ran it with no more load than the meter on it. My lathe has a VFD, so I can read the RPM from a digital readout. What I got was: 457rpm -> 14.6V 623rpm -> 14.64V 897rpm -> 15.09V 991rpm -> 15.7V I'll hook a battery or a couple lights to it later today to see if the regulator needs a significant current flowing to regulate properly, but it doesn't look to me like this regulator is regulating very well. | Contemporary PM R/R needs a load to be optimally accurate/stable. How do the rpms in your test data relate to engine rpms in operation? It will settle down with a load.
Bob . . .
|
| | - The Matronics AeroElectric-List Email Forum - | | | Use the List Feature Navigator to browse the many List utilities available such as the Email Subscriptions page, Archive Search & Download, 7-Day Browse, Chat, FAQ, Photoshare, and much more:
http://www.matronics.com/Navigator?AeroElectric-List |
|
|
|
| Back to top |
|
 |
|
|
You cannot post new topics in this forum You cannot reply to topics in this forum You cannot edit your posts in this forum You cannot delete your posts in this forum You cannot vote in polls in this forum You cannot attach files in this forum You can download files in this forum
|
Powered by phpBB © 2001, 2005 phpBB Group
|