nuckolls.bob(at)aeroelect Guest
|
Posted: Tue Feb 02, 2021 8:12 am Post subject: Galloping ammeter |
|
|
| Quote: | Follow-up:
1). No discrepancies (high resistances) found at Field switch or fuse (though AGC fuse and holder contacts cleaned).
2). No discrepancies at the alternator field and B connections or with the capacitor (condenser) mounted there.
3). Little improvement with further flight time (resulting in higher battery SOC) - this behavior started after a period of no use during annual inspection. |
The resistance values I cited are measured in tens of milliohms and cannot
be observed with the legacy volt-ohmmeter.
| Quote: | | 4). Significant improvement from unplugging and reseating the connector at the voltage regulator. Next time the cowl is off I will perform a more comprehensive contact cleaning (tough to do properly through the oil door). |
Aha! this is suggestive of exactly the phenomenon
I was describing. The act of re-seating a connection
effected a CHANGE in resistance at that joint on the
order of a milliohm or two.
| Quote: |
So now I am back to a simple dancing ammeter (with regular period between 1 and 2 Hz) that has been the norm for several years. The “AC component” as measured with my cheapie Digital voltmeter is under 0.5V and my panel lights are no-longer flickering.
I’m chalking this one up to a poor connection at the voltage regulator and returning the replacement alternator. |
Good show. Try the experiment I suggested where
you wire a regulator right to the back of the
alternator thus eliminating all other ship's
wiring . . . see if the ammeter stabilizes.
I don't think I explained the 'resistance' thing
clearly enough. We're talking about the resistance
of wiring COMBINED with the resistance of EVERY
metal-metal joint in the field supply pathway.
Total pathway resistance from bus through circuit
breakers, connectors, switches and intermediate
accessories like ov sensor all add up to much less
than an ohm. When the aircraft is new, all those
joints are fresh and unaffected by the effects
of environment and age.
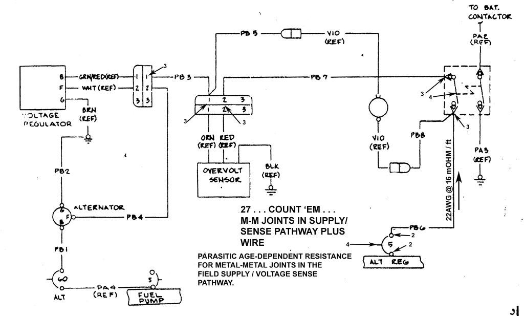
The attached drawing is an excerpt from a Cessna
drawing for alternator installation. I've counted
all the metal-to-metal joints which ADD to the
resistance of the wire (22AWG at 16 milliOhms
per foot) . . . all of which are in series with
the FIELD SUPPLY path of a 3-terminal voltage
regulator. This same pathway doubles as the
VOLTAGE SENSE lead for the regulator.
As long as that total resistance is low (factory
fresh), all is right with the universe. 30 year
old airplanes are another matter. The "galloping
ammeter" phenomenon manifests when total path
resistance rises above a threshold for regulation
stability. We might be talking about a few
hundred milliohms . . . a characteristic you
cannot detect/measure with your ohmmeter.
In some cases, replacing the split rocker switch
'cured' the problem . . . but it is only one of
many contributors to rise in path resistance.
In a relatively short period of time compared to
airplane age, the problem returns because rise
in path resistance has multiple contributors.
This is why I suggested the short-lead, test-regulator
experiment. It gets bypasses all ship's wiring and
accessories. It serves to confirm that root
cause galloping ammeter is too high resistance
in the field-supply/voltage-sense pathway.
Bob . . .
Un impeachable logic: George Carlin asked, "If black boxes
survive crashes, why don't they make the whole airplane
out of that stuff?"
| | - The Matronics AeroElectric-List Email Forum - | | | Use the List Feature Navigator to browse the many List utilities available such as the Email Subscriptions page, Archive Search & Download, 7-Day Browse, Chat, FAQ, Photoshare, and much more:
http://www.matronics.com/Navigator?AeroElectric-List |
|
| Description: |
|
| Filesize: |
144.34 KB |
| Viewed: |
1629 Time(s) |

|
|
|