 |
Matronics Email Lists Web Forum Interface to the Matronics Email Lists
|
| View previous topic :: View next topic |
| Author |
Message |
user9253
Joined: 28 Mar 2008 Posts: 1948 Location: Riley TWP Michigan
|
Posted: Thu Oct 27, 2011 12:47 pm Post subject: Canopy Switch |
|
|
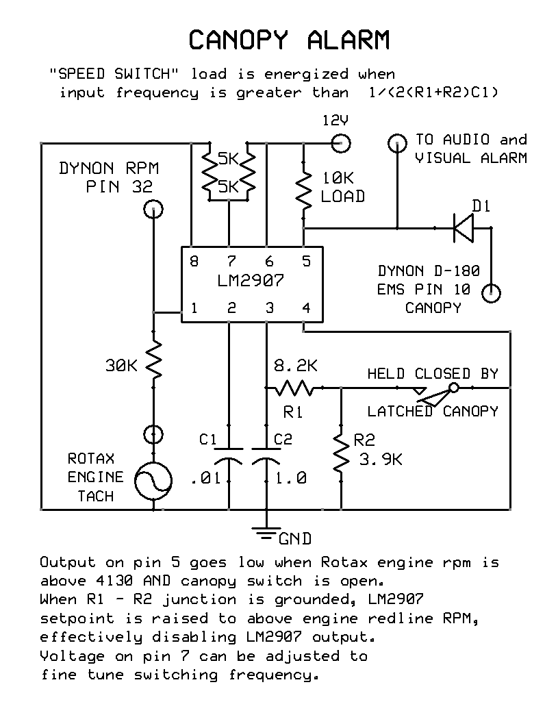
A canopy-open indicator light does not help much to remind the pilot to latch the canopy. The pilot will become accustomed to seeing that light on while she taxies, trying to keep cool with the canopy open. What is needed is an audio and visual alarm that ONLY activates if the canopy is not latched for takeoff. I thought about using a microprocessor but am not proficient at programming. Then I found this LM2907 "RPM Speed Switch". Although it requires a few resistors and capacitors, all of the active components are contained in one 8-pin IC.
Here is a proposed circuit: https://lh5.googleusercontent.com/-fI7pwRbufgI/Tqm5F18UY5I/AAAAAAAAAcw/QWs0GHx4q1I/s800/Canopy%252520Alarm.gif
And here is the datasheet for the LM2907: http://www.national.com/ds/LM/LM2907.pdf
Joe
| | - The Matronics AeroElectric-List Email Forum - | | | Use the List Feature Navigator to browse the many List utilities available such as the Email Subscriptions page, Archive Search & Download, 7-Day Browse, Chat, FAQ, Photoshare, and much more:
http://www.matronics.com/Navigator?AeroElectric-List |
|
| Description: |
|
| Filesize: |
22.46 KB |
| Viewed: |
6756 Time(s) |

|
_________________ Joe Gores |
|
| Back to top |
|
 |
Tundra10
Joined: 14 Jun 2010 Posts: 102 Location: Scarborough, Ontario
|
Posted: Fri Oct 28, 2011 5:40 am Post subject: Canopy Switch |
|
|
Joe,
This looks like a good circuit, to minimize an important risk.
My concern is the connection between the circuit and the canopy latch
switch. Perhaps that would be subject to external influences ?
Bob, could you comment ? What might be the best change to make this
DO-160 compliant ?
Jeff Page
Dream Aircraft Tundra #10
| Quote: | Subject: Canopy Switch From: "user9253" <fran4sew(at)banyanol.com>
A canopy-open indicator light does not help much to remind
the pilot to latch
the canopy. The pilot will become accustomed to seeing that light on while
she taxies, trying to keep cool with the canopy open. What is needed is an
audio and visual alarm that ONLY activates if the canopy is not latched for
takeoff.
I thought about using a microprocessor but am not proficient at programming.
Then I found this LM2907 "RPM Speed Switch". Although it requires a few
resistors and capacitors, all of the active components are contained in one
8-pin IC. Here is a proposed circuit:
https://lh5.googleusercontent.com/-fI7pwRbufgI/Tqm5F18UY5I/AAAAAAAAAcw/QWs0GHx4q1I/s800/Canopy%252520Alarm.gif
And here is the datasheet for the LM2907:
http://www.national.com/ds/LM/LM2907.pdf
Joe Gores
|
| | - The Matronics AeroElectric-List Email Forum - | | | Use the List Feature Navigator to browse the many List utilities available such as the Email Subscriptions page, Archive Search & Download, 7-Day Browse, Chat, FAQ, Photoshare, and much more:
http://www.matronics.com/Navigator?AeroElectric-List |
|
|
|
| Back to top |
|
 |
nuckolls.bob(at)aeroelect Guest
|
Posted: Fri Oct 28, 2011 8:39 am Post subject: Canopy Switch |
|
|
At 08:36 AM 10/28/2011, you wrote:
Joe,
This looks like a good circuit, to minimize an important risk.
My concern is the connection between the circuit and the canopy latch
switch. Perhaps that would be subject to external influences ?
Bob, could you comment ? What might be the best change to make this
DO-160 compliant ?
An astute observation my friend. Let
me noodle on this a bit . . .
Bob . . .
| | - The Matronics AeroElectric-List Email Forum - | | | Use the List Feature Navigator to browse the many List utilities available such as the Email Subscriptions page, Archive Search & Download, 7-Day Browse, Chat, FAQ, Photoshare, and much more:
http://www.matronics.com/Navigator?AeroElectric-List |
|
|
|
| Back to top |
|
 |
Mike Welch
Joined: 13 Feb 2011 Posts: 272
|
Posted: Fri Oct 28, 2011 9:06 am Post subject: Canopy Switch |
|
|
Jeff, Bob N, Joe, everyone else,
If someone isn't crazy about the mechanical "open/closed switch" in the circuit, would it
be a better (as in more robust) idea to have an optical switch? A simple tab on the canopy,
properly positioned, could open/close an optical switch as needed.
Just wondering.......
Mike Welch
On Oct 28, 2011, at 11:24 AM, Robert L. Nuckolls, III wrote:
| Quote: |
At 08:36 AM 10/28/2011, you wrote:
Joe,
This looks like a good circuit, to minimize an important risk.
My concern is the connection between the circuit and the canopy latch
switch. Perhaps that would be subject to external influences ?
Bob, could you comment ? What might be the best change to make this
DO-160 compliant ?
An astute observation my friend. Let
me noodle on this a bit . . .
Bob . . .
|
| | - The Matronics AeroElectric-List Email Forum - | | | Use the List Feature Navigator to browse the many List utilities available such as the Email Subscriptions page, Archive Search & Download, 7-Day Browse, Chat, FAQ, Photoshare, and much more:
http://www.matronics.com/Navigator?AeroElectric-List |
|
|
|
| Back to top |
|
 |
user9253
Joined: 28 Mar 2008 Posts: 1948 Location: Riley TWP Michigan
|
|
| Back to top |
|
 |
nuckolls.bob(at)aeroelect Guest
|
Posted: Fri Oct 28, 2011 12:23 pm Post subject: Canopy Switch |
|
|
At 12:00 PM 10/28/2011, you wrote:
| Quote: |
<mdnanwelch7(at)hotmail.com>
Jeff, Bob N, Joe, everyone else,
If someone isn't crazy about the mechanical "open/closed switch"
in the circuit, would it
be a better (as in more robust) idea to have an optical switch? A
simple tab on the canopy,
properly positioned, could open/close an optical switch as needed.
Just wondering.......
|
Another option is a reed-switch operated by a magnet.
Bob . . .
| | - The Matronics AeroElectric-List Email Forum - | | | Use the List Feature Navigator to browse the many List utilities available such as the Email Subscriptions page, Archive Search & Download, 7-Day Browse, Chat, FAQ, Photoshare, and much more:
http://www.matronics.com/Navigator?AeroElectric-List |
|
|
|
| Back to top |
|
 |
fvalarm(at)rapidnet.net Guest
|
Posted: Sat Oct 29, 2011 4:04 pm Post subject: Canopy Switch |
|
|
--
| | - The Matronics AeroElectric-List Email Forum - | | | Use the List Feature Navigator to browse the many List utilities available such as the Email Subscriptions page, Archive Search & Download, 7-Day Browse, Chat, FAQ, Photoshare, and much more:
http://www.matronics.com/Navigator?AeroElectric-List |
|
|
|
| Back to top |
|
 |
|
|
You cannot post new topics in this forum You cannot reply to topics in this forum You cannot edit your posts in this forum You cannot delete your posts in this forum You cannot vote in polls in this forum You cannot attach files in this forum You can download files in this forum
|
Powered by phpBB © 2001, 2005 phpBB Group
|